|
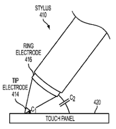
苹果已经获得了另一项与"iPen"有关的手写笔专利,以便在触屏上轻松地绘制。美国商标和专利局于本周二授予了苹果"手写定位监测"专利,描述主要集中在"相对于接触面的手写笔方向"。最初由Patently Apple发现的这项专利,设想了一支带方向传感器的笔,以判断其相对于屏幕的方向和"涂鸦"的类型。
基于这一点,该装置就能够模仿现实中的这种趋向。因此,如果一个人在绘制一条直线,那么笔尖的位置(角度)就会显得与众不同。 事实上,苹果致力于iPen的设计已由多年。2012年的时候,该公司就申请了一项基于用户反馈的设备专利。然而讽刺的是,很多人觉得苹果只是在考虑推出一支手写笔。 该公司联合创始人史蒂夫·乔布斯曾多次抨击过使用手写笔的移动设备,并且认为这样的设备价值不大。而现在看来,苹果或许已经改变了主意。
|