未来索引
开启左侧

传微软正测试智能眼镜

[复制链接]
邢远 发表于 2013-10-24 13:28:20 | 显示全部楼层 |阅读模式 打印 上一主题 下一主题
挑战Google Glass 传微软正测试智能眼镜

    北京时间10月23日消息,据《华尔街日报》报道,微软正在测试类似于谷歌眼镜(Google Glass)的可联网眼镜原型产品,计划以此进军可穿戴计算市场。

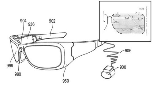
cevPVyFIhUpE.jpg
传微软正测试智能眼镜(图片来自腾讯)
    媒体援引熟悉微软该项目的知情人士称,微软已确定亚洲几家零部件厂商提供眼镜原型的摄像头和其他核心零部件部件。但该知情人士同时指出,这款智能眼镜最终能否量产还不确定。该知情人士还称,微软“决心在硬件制造上占据先机,以确保抓住可穿戴设备市场的机会”。
    对此业内人士表示,此举表明微软正在密切关注新兴的可穿戴计算设备市场。同时也说明微软正在努力将自己从一家软件公司转型为设备与服务公司。
    据了解,智能穿戴设备市场的典型产品包括,监控用户运动量的智能手环,具有一些智能手机功能的智能手表,以及其他一些更前卫的想法,如用纹身登录计算设备等。调研公司ABI Research预计,2018年全球可穿戴计算设备的年销量将达到4.85亿部。
    此外,专利公司Envision IP数据显示,截至今年10月10日,微软拥有78项与头戴显示器和其他可穿戴技术相关的美国专利,以及94项已公开的在申请专利。相比之下,谷歌和苹果(519.87, -1.50, -0.29%)公司在该领域分别有59项和27项专利。


该会员没有填写今日想说内容.
高级模式
您需要登录后才可以回帖 登录 | 立即注册

本版积分规则

关注2973

粉丝3242

帖子9944

发布主题
阅读排行 更多
广告位
!jz_fbzt! !jz_sgzt! !jz_xgzt! 快速回复 !jz_sctz! !jz_fhlb! 搜索

智能技术共享平台 - 未来论

关注服务号

进入小程序

全国服务中心:

运维中心:天津

未来之家:天津 青岛 济南 郑州 石家庄

                商务邮箱:xy@mywll.com

Copyright © 2012-2021 未来派 未来论 (津ICP备16000236号-5)